
生产到底是干啥的?这个问题听起来简单,但真要掰开了揉碎了说,里面门道可多了去了。 我最近在跟一家工厂搞合作,天天泡在车间里,才算有点眉目。咱们老百姓理解的生产,就是把一...
生产到底是干啥的?这个问题听起来简单,但真要掰开了揉碎了说,里面门道可多了去了。
我最近在跟一家工厂搞合作,天天泡在车间里,才算有点眉目。咱们老百姓理解的生产,就是把一堆原材料变成成品,比如把铁矿石变成钢筋,把布料变成衣服。这没错,但只是最表层的东西。
我刚进去那会儿,啥都不懂,跟着生产主管转。他带我先看物料进仓。
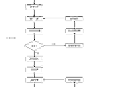
就到了领料环节。生产车间不会一下子把所有料都抱走,那样容易丢、容易坏。都是按“工单”走的。

我看着操作员在那边电脑上敲,输了产品型号和数量,系统自动就生成了物料需求。然后他们才去仓库领料。这个过程,就保证了生产不会瞎搞,领多了浪费,领少了停工。
真正的核心流程,就是加工制造。
我观察了好几个车间。有的车间是流水线,工人流水作业,A做这个步骤,B接着做下一个,速度快得吓人。比如饮料厂,一个瓶子进来,洗瓶、灌装、封盖、贴标,一气呵成,中间几乎没有停顿。
但也有的车间是单件小批量,比如做大型机械设备。这就复杂了。他们不是流水线,而是根据设计图纸,一步一步来。

比如一台复杂的机床,先是粗加工,然后精加工,接着焊接,再是装配。每一步都有严格的工艺卡,规定了用哪个刀具,转速多少,精度要求多高。工人严格按照卡片操作,生怕出一点差错。
我记得有一次,一个工件的尺寸超差了,刚出来就被质检员拦下来了。主管立马召集技术员,对照图纸和工艺卡翻了个底朝天。发现是某个步骤的机床参数稍微调高了一点点。立刻停线,把参数调回来,所有超差的都得返工重做。
质量控制贯穿始终。不是说做完了才检查,是在关键节点就得检查。半成品也要抽样检验,保证能顺利进入下一步。
等所有加工和装配都做完了,就进入成品入库。
这时候,产品要进行的全面检验,包装,贴上唯一的序列号。然后才能算作“合格产品”,才能进入仓库,等待销售部门发货。
整个流程下来,我发现,生产早就不是光干活那么简单了。它是一套系统管理。
我以前觉得生产就是“制造”,现在看来,生产的核心是“控制”和“优化”。把设计图纸变成实物,中间这一大串环环相扣的流程,每一步都得跑顺畅,少一个环节都得趴窝。这套流程跑得越顺,生产效率越高,成本自然就下来了。